ZCQ型自吸式磁力泵
銷售熱線:021-66525777 63099652
產品分類:磁力泵
口徑(進口/出口):20-80/12-65(mm)
流量:3-50(m3/h)
正奧泵業優勢:知名度高,品質可靠,服務完善 現貨供應
各種材質、非常規產品皆可訂做
- 產品概述
- 選型參數
- 安裝尺寸
- 應用領域
- 使用說明
- 產品特點

一、產品概述:
上奧牌ZCQ型自吸式磁力驅動泵(以下簡稱自吸泵)該泵以靜密封取代動密封,使泵的過流部件處于完全密封狀態,解決了其它泵機械密封無法避免的跑、冒、滴、漏之弊病,泵體及過流部件的材料均采用了耐腐蝕的不銹鋼、鋼玉陶瓷、四氟石墨等材料制造,既有CQ型磁力驅動泵的功能,又集皂吸于一身,不需底閥和引灌水,自吸高度4米。
二、產品特點:
該泵結構緊湊,外形美觀,體積小,噪音低,運行可靠,使用維修方便,可廣泛用于石油、化工、制藥、電鍍、印染、食品、科研等單位抽送酸、堿、油類及稀有貴重液、毒液、揮發性液體,以及循環水設備配套,特別是易漏、易燃、易爆液體的抽送。
三、型號意義:
ZCQ自吸磁力泵工作原理
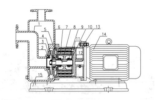
ZCQ自吸磁力泵采用外混式軸向回水泵體結構,泵體由吸液室、儲液室、蝸殼、回流孔、氣液分離室等部份組成,結構見圖。泵啟動 后,在離心力的作用下,吸水室中的剩余液與進液管路中的空氣被葉輪攪拌成氣水混合物,混合物經蝸殼進入氣液分離室,隨著速度減慢,導致氣水分離,空氣由泵出液口排出,液經回水孔返回泵內,經過多次循環,進液管道中的空氣被排凈,使泵內形成一定的真空度,達到自吸的作用。
|
ZCQ自吸磁力泵結構說明
|
||||||||||||||
|
||||||||||||||
|
|
三、結構爆炸圖:
|




- 上一個產品: CQB-F型氟塑料磁力泵
- 下一個產品: CQGB型高溫保溫磁力泵























